Kailan mo maaaring gamitin ang mga ilaw ng fog ayon sa mga patakaran ng trapiko
Ang kagamitan sa pag-iilaw (lighting equipment o SRT) ng sasakyan ay isang mahalagang bahagi ng pagtiyak ng kaligtasan kapag nagmamaneho sa mga pampublikong kalsada. Ang katawagan ng mga signal light na naka-install sa isang partikular na sasakyan ay kinokontrol ng mga internasyonal na pamantayan at tinutukoy ng mga developer sa loob ng balangkas ng mga patakaran. Ang pananagutan para sa kakayahang magamit at tamang aplikasyon ng Service Station ay nasa driver ng sasakyan.
Mga panuntunan ng kalsada sa paggamit ng teknolohiya sa pag-iilaw
Ang paggamit ng automotive lighting ay kinokontrol hindi lamang ng Mga Panuntunan ng Daan, kundi pati na rin ng "Mga Pangunahing Probisyon para sa Pagpasok ng Mga Sasakyan", pati na rin ang GOST 33997-2016, na pinalitan ang nakanselang GOST R 51709-2001.Ang bagong pamantayan, hindi katulad ng luma, ay kinokontrol lamang ang pag-install ng karagdagang mga aparato sa pag-iilaw, na iniiwan ang pagkakaroon ng mga pangunahing sa pagpapasya ng mga developer. Gayundin, ang pangkalahatang impormasyon sa kaligtasan ng sasakyan ay kinokontrol sa Mga Teknikal na Regulasyon TR TS 018/2011.
Mga sukat
Alinsunod sa seksyon 19 ng SDA, dapat isama ng driver mga ilaw sa paradahan, kung siya ay tumigil o tumayo sa paradahan sa mga kondisyon na limitado ang kakayahang makita. Kapag nagmamaneho, hinihiling sa iyo ng mga panuntunan na i-on lang ang mga sukat sa mga trailer.
Sa istruktura, ang mga ilaw ng marker sa likod at sa harap ng isang gulong na sasakyan (WTC) ay dapat na nakabukas mula sa isang kontrol, at ang supply ng boltahe sa mga ilaw para sa pag-iilaw sa likurang numero ng estado ng kotse ay dapat ding isama dito. Sa pagsasagawa, ang mga dipped beam headlight ay naiilawan din sa parehong switch. Ang sandaling ito ay hindi kinokontrol ng mga patakaran, ngunit sa GOST mayroong isang sugnay kung saan ang obligasyon ng naturang kumbinasyon ay inireseta. Inireseta din ng pamantayan ang pagsasama ng mga ilaw sa gilid kapag naka-on ang ilaw ng dashboard ng kotse, ngunit hindi mahigpit na nabaybay ang pangangailangang ito.

Kung wala ang ignition ng mga dimensyon, ang mababa o mataas na beam na mga ilaw ay maaari lamang i-on upang magbigay ng mga panandaliang signal sa pamamagitan ng pag-flash o mabilis na paglipat ng malapit sa malayo.
Hindi dapat pula ang mga marker sa likuran at hindi dapat puti ang mga marker sa harap.. Nalalapat ito sa lahat ng light-emitting device sa sasakyan, parehong basic at opsyonal. Kasama sa huling kategorya ang:
- mga spotlight;
- mga searchlight;
- emergency stop lights.
Kasama rin sa GOST ang iba pang kagamitan sa pag-iilaw sa konseptong ito.
dipped beam
Ang mga patakaran ng kalsada ay nagbibigay para sa pag-activate ng mababang beam kapag nagmamaneho:
- sa gabi (pagkatapos ng paglubog ng araw);
- sa ilalim ng mahirap na kondisyon ng panahon (snow, fog, atbp.);
- sa mga lagusan.
Sa araw, ang mga dipped beam na ilaw ay pinapayagang gamitin bilang mga DRL (daytime running lights).

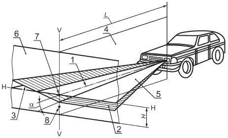
Ang mga dipped beam lamp ay kinokontrol alinsunod sa seksyon 4.3 ng GOST 33997-2016, pagkatapos ay sinusukat ang maliwanag na intensity. Hindi ito dapat lumampas sa 750 candelas 34' pataas mula sa optical axis (ipinahiwatig bilang α sa figure) at 1500 candelas 52' pababa mula sa optical axis.
mataas na sinag
Ang mga panuntunan sa trapiko ay nangangailangan ng pagsasama ng high-beam na ilaw sa parehong mga kundisyon gaya ng low beam, maliban sa mga sitwasyon:
- kapag nagmamaneho sa loob ng mga limitasyon ng pag-areglo sa iluminado na kalsada;
- kapag nagmamaneho kasama ang mga paparating na sasakyan o sa iba pang mga sitwasyon kung saan posibleng masilaw ang ibang mga driver (halimbawa, isang driver ng sasakyan na nauuna sa parehong direksyon sa pamamagitan ng rear-view mirrors).
Sa lahat ng mga sitwasyong ito, kinakailangang ilipat ang mataas na sinag sa mababang sinag.

Gayundin, ang mga patakaran ay hindi nagbibigay para sa paggamit ng mga high beam lamp bilang mga DRL (daytime running lights).
Maaari mong i-on ang mga high beam na ilaw nang sabay o hiwalay. Ang parehong mga headlight ay dapat ilipat sa mababang beam sa parehong oras.
Ang maliwanag na intensity ng mga high-beam na headlight ay sinusukat pagkatapos i-adjust ang low beam at hindi dapat lumampas sa 30,000 candela sa kahabaan ng headlight axis, upang hindi masilaw ang mga driver ng paparating na mga sasakyan sa malayong distansya na lampas sa inirerekomendang mga panuntunan sa trapiko na 150 metro.
Kailan Gamitin ang Fog Lights
Ang paggamit ng mga panlabas na ilaw na ito ay malinaw na kinokontrol ng SDA clause na "fog lamp" (clause 19.4). Dapat i-on ng driver ang mga ito kapag nagmamaneho:
- sa mahirap na kondisyon ng panahon o pagkatapos ng paglubog ng araw kasama ang mga headlight na nakabukas sa low beam o high beam mode;
- bilang daytime running lights sa halip na low beam system.
Ang mga fog lamp na naka-mount sa likuran ng sasakyan ay maaari lamang i-on sa mga kondisyon na limitado ang visibility.

Ang mga ilaw ng fog sa likuran ay hindi dapat gamitin kasama ng mga ilaw ng preno. Ang kanilang disenyo ay nagbibigay para sa isang mas maliwanag na glow kaysa sa mga harap. Kapag nagpepreno, maaari itong humantong sa pagkabulag ng driver na nagmamaneho sa likod sa parehong direksyon.
I-set up ang mga foglight alinsunod sa mga tagubilin ng tagagawa ng sasakyan. Kung walang pagtuturo, ang mga pamantayan ng GOST 33997-2016 ay inilalapat kapag nag-aayos. Ang kulay ng glow ay dapat puti o orange.
Sa anong uri ng ilaw ang kailangan mong magmaneho sa araw ayon sa mga patakaran ng trapiko
Kaugnay nito, hindi pinapayagan ng Mga Panuntunan ang mga pagkakaiba. Sa araw, magmaneho gamit ang mga headlight sa low beam o daytime running lights (DRL). Ang mga puting fog light o indibidwal na ilaw ay maaari ding gamitin bilang mga DRL.

| Mga kagamitan sa pag-iilaw | Application bilang DRL |
|---|---|
| Mga ilaw sa pagmamaneho | Bawal |
| Dipped beam lights | Pinayagan |
| Puting glow ang fog lights sa harap | Pinayagan |
| Orange na fog light sa harap | Bawal |
| Mga ilaw ng fog sa likuran | Bawal |
| mga turn signal | Bawal |
| Mga sukat | Bawal |
| Ilawan ng pag-iilaw ng plaka ng lisensya ng estado (likod) | Bawal |
| Ang mga hiwalay na DRL na ibinigay para sa disenyo ng makina o karagdagang naka-install at nakarehistro sa pulisya ng trapiko bilang mga pagbabago sa disenyo | Pinayagan |
Kinakailangang i-on ang DRL anuman ang teritoryo ng paggalaw - sa loob ng pag-areglo o sa labas ng lungsod.
Aling mga headlight ang dapat gamitin depende sa sitwasyon
Ang driver ay nag-iisa sa iba pang mga regular na kagamitan sa pag-iilaw, depende sa aktwal na mga kondisyon. Ang kanilang paggamit sa iba't ibang sitwasyon ay kinokontrol din ng mga patakaran sa trapiko.
Sa kaso ng mahinang visibility
Sa mga kondisyon ng mahinang visibility, ang Mga Regulasyon ay nangangailangan ng driver na i-activate ang:
- sa mga gulong na sasakyan - mga headlight sa dipped o main beam mode;
- sa mga bisikleta - mga headlight o lantern.
Maaaring sindihan ang mga parol sa mga cart na hinihila ng kabayo, ngunit hindi kinokontrol ng mga patakaran sa trapiko ang obligadong pag-install ng mga ito.
Na may magandang visibility
Sa magandang visibility at simpleng kondisyon ng panahon sa araw, ang paggamit ng kagamitan sa pag-iilaw ay nababawasan sa paggamit ng mga headlight sa dipped beam mode o DRL (DRL).
Traffic sa tunnel
Ang pagmamaneho sa isang tunnel ay katumbas ng pagmamaneho pagkatapos ng paglubog ng araw o kapag limitado ang visibility. Kaya naman, kinakailangang buksan ng driver ang mga headlight o ilaw, depende sa uri ng sasakyan. Ang mga trailer sa lagusan ay dapat na may mga ilaw sa gilid..

Pagmamaneho sa gabi
Ang paggamit ng mga kagamitan sa pag-iilaw pagkatapos ng paglubog ng araw ay kinokontrol ng parehong sugnay 19.4 ng SDA. Dapat i-on ng driver ang mga headlight sa malayo o malapit na mode, at kung wala sila, ang mga ilaw. Pinahihintulutan ng Clause 19.4 ang paggamit ng mga fog light sa gabi kasabay ng mga conventional headlight, kahit na sa mga kondisyon na limitado ang visibility.
Ang mga opsyonal na device gaya ng searchlight at searchlight, ang mga panuntunan sa trapiko ay pinapayagang gamitin sa labas ng mga settlement lamang kapag walang ibang sasakyan sa kalsada. Kung hindi, ang panganib ng liwanag na nakasisilaw ay napakataas, dahil naglalabas sila ng liwanag sa isang mataas na nakatutok na kono. Ang mga pagbubukod ay mga kotse ng mga espesyal na serbisyo at sa mga espesyal na kaso. Ipinagbabawal din ang hindi awtorisadong pag-install ng naturang kagamitan.

At ang pinakamahalaga, alinsunod sa nabanggit na GOST, ang mga kagamitan sa pag-iilaw ay dapat na nasa maayos na pagkakasunud-sunod, at ang mga pangunahing probisyon ay nagbabawal sa pagmamaneho gamit ang mga hindi gumaganang light-emitting device at kahit na may mga hindi nababagay na mga headlight. Dapat subaybayan ng driver ang katayuan ng mga aparato, sa gayon ay madaragdagan ang kaligtasan ng kanyang sarili at iba pang mga may-ari ng kotse.
