Принципът на работа и характеристиките на LED лампата
Благодарение на дизайна на 220 волтова LED лампа, тя консумира значително по-малко енергия от лампа с нажежаема жичка и ще продължи няколко пъти по-дълго. При покупка можете да получите гаранция за LED лампата, така че не бързайте да изхвърляте касовата бележка и опаковката.
LED крушката е проектирана така, че изходното напрежение се намалява до необходимите стойности с помощта на драйвера. Обикновено те не надвишават 2-4 волта. Единственият недостатък на тези устройства е цената. Но цената на лампата се изплаща поради експлоатационния живот.
Принципът на работа на LED лампите
Въпреки различния външен вид на LED лампите, те имат общ принцип на работа. Токът се подава чрез диоди, чийто брой варира в зависимост от мощността на осветителното устройство. Цветовият спектър се задава от специален състав, който покрива всеки кристал.
LED лампата е полупроводников елемент, който преобразува тока в светлина. За необходимите показатели за разсейване и защита на диодите се прави специална крушка (защитно дифузионно стъкло). Външно продуктът прилича на обикновена лампа с нажежаема жичка.
Какви светодиоди се използват
Един от основните елементи, който е част от LED лампата, е диод. Наричат го полупроводников кристал, състоящ се от няколко слоя. Той е този, който служи за превръщане на електричеството, подадено на лампата, в светлина. Диод се произвежда на базата на чип - кристал с платформа, към която са свързани проводниците.
Съветваме ви да гледате видеото: Обяснение на LED лампите, демонтаж на LED лампата, принципа на действие.
За да се получи бял блясък, чипът трябва да бъде покрит с жълт фосфор. Когато синьото и жълтото се смесят, се образува бяло. Има 4 вида светодиоди:
- COB. При тази производствена технология чипът се монтира върху платка. Контактът получава надеждна защита срещу окисляване и прекомерно нагряване. Освен това има положителен ефект върху характеристиките на блясъка. Ако такъв чип се повреди, веригата не може да бъде поправена. Това е единственият недостатък на технологията;
- DIP. Веригата се състои от кристал, два прикрепени проводника, лещата е разположена отгоре. Такива осветителни устройства в повечето случаи се използват като подсветка на билбордове и светлинни декорации;
- диод smd. Монтиран върху плоски повърхности, което ви позволява да правите устройства с различни форми. Характеризира се с подобрени характеристики на разсейване на топлината. Такива лампи могат да се използват за всеки източник на светлина;
- "Пираня". Дизайнът е подобен на DIP веригата.Но тук има 4 изхода, което подобрява отвеждането на генерираната топлина и прави технологията по-надеждна. Piranha стана широко разпространена в автомобилната индустрия.

Как са тези лампи
Съставът на класическата LED крушка съдържа:
- цокъл и носещо тяло;
- захранващ блок;
- дифузьорна леща, изработена от пластмаса;
- шофьор;
- чипс;
- радиатор за разсейване на топлината;
- печатна електронна платка.
Формата може да бъде стандартна, тоест заоблена или цилиндрична. За система за общо ползване се препоръчва да изберете осветителни тела, чиято цветова температура е на ниво от 2700 K, 3500 K. В градацията на спектъра са разрешени всякакви стойности. Такива продукти често се използват за подчертаване на интериорни елементи или от рекламни агенции за подчертаване на банера.
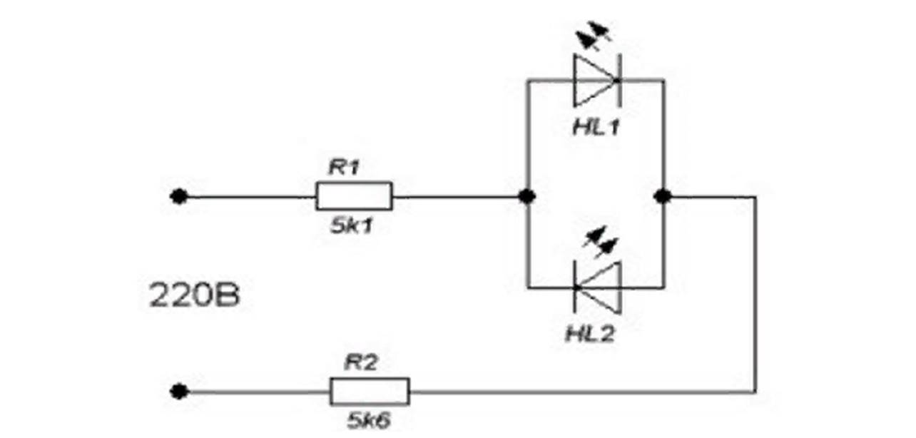
Схема на драйвер за LED
Фигурата по-долу показва опростена диаграма на драйвера, използван в 220 V лампи.
Схемата включва използването само на основни части. Тук има 2 резистора - R1 и R2. Диодите HL1 и HL2 са свързани към тях по антипаралелния принцип. Такова устройство осигурява на веригата защита от пренапрежение от обратно напрежение. Когато се включи, сигналът към лампата се повишава до 100 Hz. Напрежението 220 V се подава през C1 (ограничаващ кондензатор). Оттук влиза в токоизправителния мост и чипове.
Видове сглобки
Има 2 основни типа монтаж на LED лампи за 220 волта:
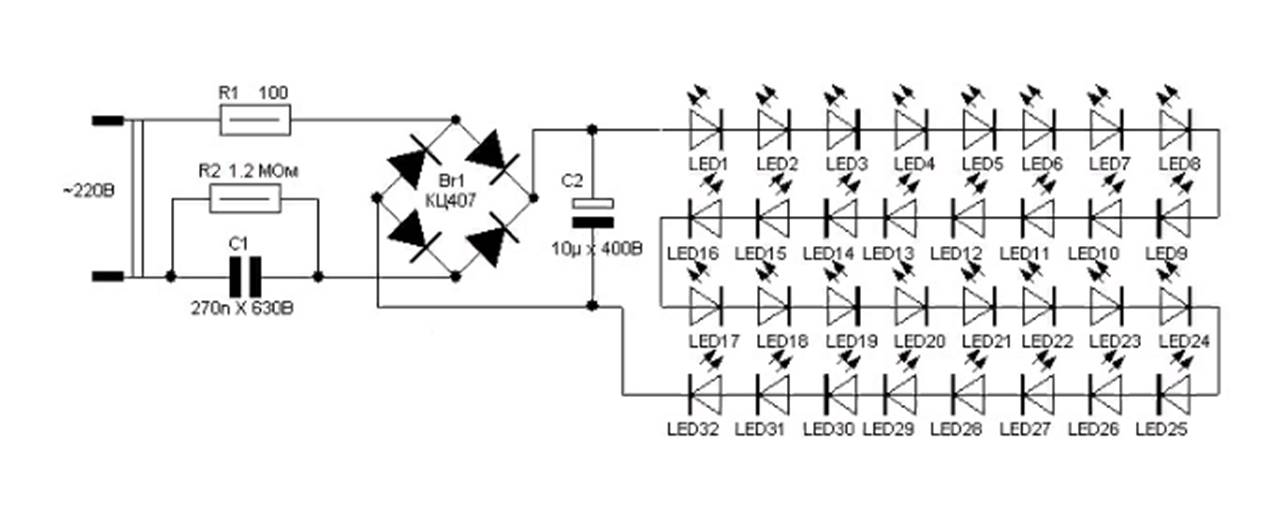
- с диоден мост. Веригата включва 4 диода. Мостът трансформира входящия ток в пулсиращ. Преминавайки през чиповете, синусоидите се променят, което провокира загуба на полярност.По време на процеса на сглобяване към изхода пред моста трябва да бъде свързан кондензатор. Преди терминала (отрицателен) - съпротивление от 100 ома. За да се изгладят възможните капки, друг кондензатор е монтиран зад моста;
- с резистор. Монтажът е достъпен дори за неопитни майстори. За работа трябва да се подготвят 2 резистора, както и вериги със същия брой чипове, инсталирани последователно, като се вземе предвид полярността. От страната на първия резистор лентата е свързана от катода, а втората - от анода. Лампата ще има мека светлина поради включването на чиповете на свой ред. Такива устройства често се използват като настолни лампи.
Ще бъде полезно и видео: Комплект за сглобяване на LED лампа. Събираме сами.
Схема за сглобяване на конструкцията
Как ще работи LED лампата директно зависи от производителя и цената на продукта. Разликите могат да се видят, ако премахнете дифузора. На първо място, трябва да обърнете внимание на качеството на чиповете за запояване, както и на свързващите проводници. Евтините крушки издържат по-малко от висококачествените и скъпи.
нискокачествени китайски крушки
Купувайки крушка за не повече от 3 долара, не трябва да разчитате на симетричното подреждане на светодиодите на дъската. Това предполага, че запояването е извършено ръчно и набързо, а проводниците са избрани с минимално напречно сечение. Тук също няма да има надежден драйвер. Вместо това е реализирана безтрансформаторна схема с токоизправител и кондензатор.
Когато включите евтина китайска лампа, напрежението първо ще намалее с кондензатор от метален филм (неполюсен), ще се изправи и след това ще се увеличи до желаните стойности. Токът ще бъде ограничен от стандартния SMD резистор. Той е инсталиран на печатната платка заедно с чиповете.
Ако трябва да диагностицирате и след ремонт на лампи от този тип, определено трябва да спазвате специални предпазни мерки. Всеки елемент, който е компонент на една верига, може да бъде под напрежение, опасен за хората. Ако случайно докоснете една от частите под напрежение, можете да получите токов удар. Същото може да се случи, ако сондата на мултиметъра случайно се подхлъзне и причини късо съединение.
Маркови LED лампи
Скъпите и висококачествени крушки имат приятен външен вид, но това далеч не са всички предимства. Качеството на елементната база ще бъде много по-високо от това на китайския аналог, закупен на ниска цена. Инсталираният драйвер има сложно устройство. Един от начините за сглобяването му включва инсталиране на импулсен трансформатор, както и преобразувател на ток, който допълнително стабилизира получения товар.
Трансформаторът може да не е монтиран. Основното натоварване ще бъде насочено към микросхемата, която стабилизира входното напрежение, което:
- има система за отрицателна обратна връзка;
- възможност за затъмняване;
- поддържа ток с дадена импулсна ширина.
Избирайки висококачествена 220 V LED крушка с текущ драйвер, купувачът получава устройство, защитено от смущения и пренапрежения в мрежата, което отговаря на спецификациите, посочени в паспорта. Радиаторът, инсталиран тук, ще осигури бързо разсейване на топлината. Тази крушка ще издържи повече от 5 пъти по-дълго от евтина китайска.
Съвети за избор и свързване
Когато избирате LED крушка, си струва да вземете предвид не само мощността, но и генерирания светлинен поток.Спецификациите могат да бъдат намерени на опаковката. Например, 60 W лампа излъчва поток от 800 Lm, а 100 W лампа излъчва 1600 Lm. Също така се препоръчва да се вземе предвид следното:
- цвят на осветлението. Преди да купите, решете коя лампа ви трябва, с топъл или студен абажур. Една крушка с нажежаема жичка има характеристики 2700-2800 K (топли тонове). Сиянието с индикатори 4000 К е бяло. За дома е препоръчително да изберете топли цветове, тъй като те ще подчертаят домашния уют;
- честота на включване и изключване. Честото включване може да повлияе на живота на крушката. Може да изгори поради некачествена електронна схема. LED лампата не трябва да се монтира в помещения, в които светлината често се включва и изключва. Например, ако имате нужда от крушка за баня, трябва да закупите скъп модел, тъй като евтин аналог ще изгори достатъчно бързо;
- съвместим с димер. Димерът е регулатор на интензитета на светлината. Не всички лампи са съвместими с това устройство.
Преди да закупите крушка, тя трябва да бъде внимателно разгледана и проверена за видими дефекти. Не обръщайте внимание на радиатора, той не трябва да бъде наборен. Това се отразява на експлоатационния живот на продукта. Ако ще бъде покрита с термопласт, това е най-добрият вариант. Когато е включена, лампата не трябва да мига. Ако е невидим за окото, трябва да го погледнете през камерата на телефона. Мигаща крушка не си струва да се купува.







